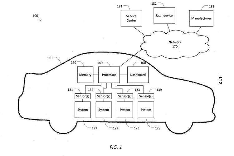
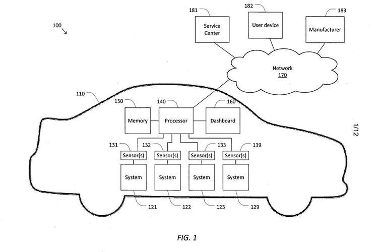
电动小侦探今日获悉,特斯拉又申请了新的专利,该专利可使汽车在发生故障之前进行自我检测,甚至可自动将汽车开到服务中心。据悉,该项专利旨在寻找检测汽车某些部件的“应力周期”的方法,以便在潜在故障发生之前将其检测出来。

根据特斯拉的设想,在发现问题之后,车辆甚至可以自行驾驶至服务中心。 例如,处理器可以将应力周期数据和毁坏数据发送给服务中心,以便服务中心在确认了损坏的部件之后,联系驾驶员预约维修。此外,如果该车是自动驾驶车,则可指示其自动驾驶至维修服务中心进行维修。

就目前来说,大多数车辆都是在出现故常抛锚以后才会被送去修理,或者车辆在进行保养时顺便发现车辆存在的潜在故障从而进行维修。特斯拉也描述了目前检测车辆损坏的方法:一种是等到故障发生,然后替换或是修复故障组件。

但是该方法特别危险,因为设备发生故障可能会造成安全威胁,甚至可能比处理好设备故障之前带来的威胁更大。另一种就是定期检查或更换设备(如每月检查,或是车辆行驶了一定的里程数后进行检查)。但是该方法只基于“经验”或者估算,尽管频繁进行检查和保养可能防止因压力损坏导致设备故障,但是此方法效率不高,而且定期进行检查既费时又费钱。