今天想和大家聊聊特斯拉的专利,最近比较火的是“激光雨刮”、“磁悬浮雨刮”,可能是特斯拉颠覆了驱动形式和外观内饰之后,觉得雨刮也必须玩点新意,所以研究出这么两个看起来奇奇怪怪的东西。

再加上最近特斯拉皮卡发布会上玻璃碎裂的乌龙,和马斯克开着新皮卡带女友兜风撞翻路牌等等新闻,让不少吃瓜看客都不明觉厉:特斯拉整个公司怎么都洋溢着一股沙雕的气息啊?

不过人家特斯拉好歹是电动车界的领军企业,雨刮这种小专利估计都是“顺手”申请,CEO 就是皮了点,人家是真的有技术的,真的一门心思做电动车的,不信你看,特斯拉申报的专利有一半都是关于锂电池。

■ 一半的专利都在研究电池

我们知道特斯拉是业内少有的使用圆柱电池的厂商,8000 多个电池单体放在一起最担心什么?当然是热失控。为此特斯拉公开了 68 篇关于电池热管理的专利,其中热管理结构与控制策略的内容有 36 篇,热失控的防护与检测有 32 篇。对热管理方面可以说是非常上心了。

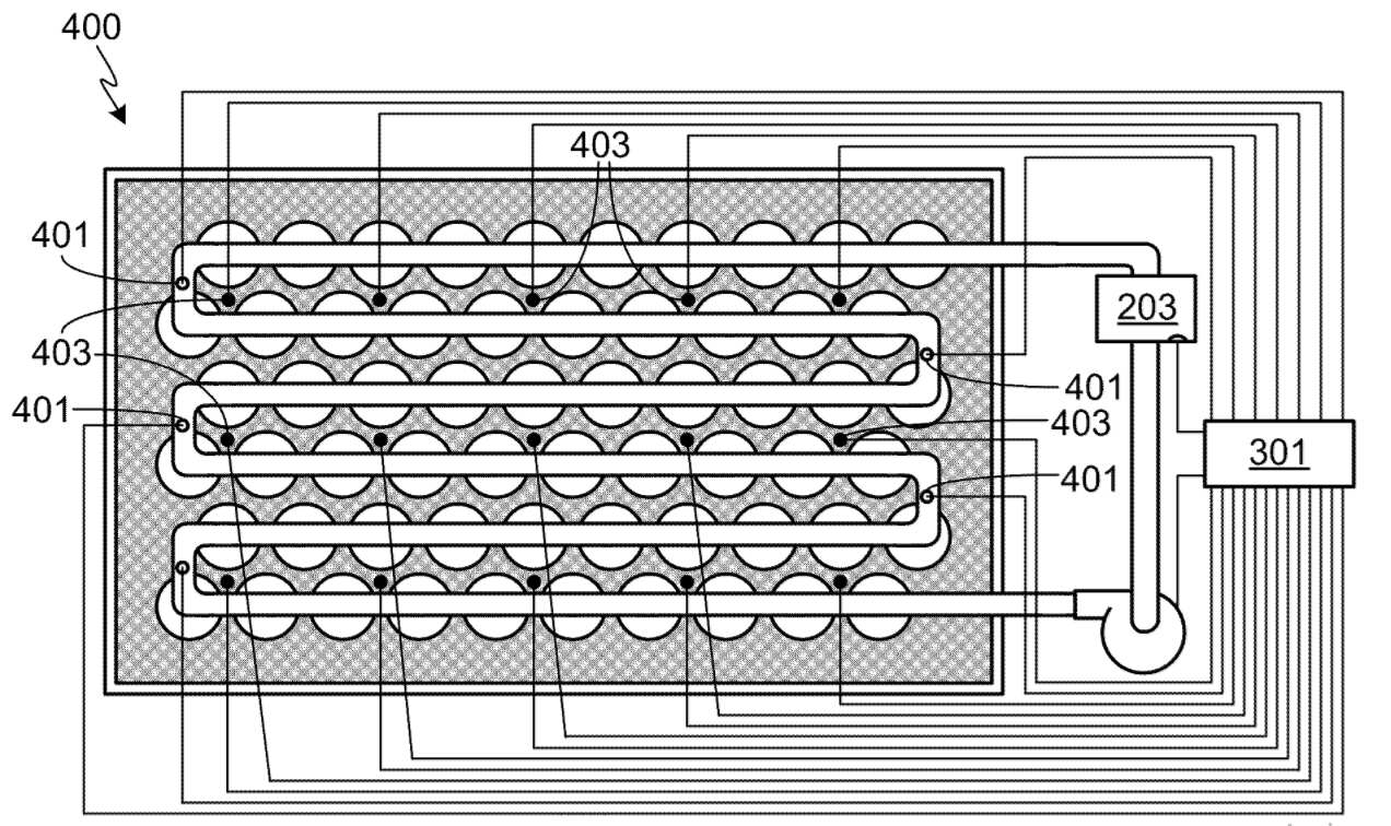
下面举几个例子给大家看看,比如下面这个关于散热的小专利。对于冷却系统,软包电池这种形状比较规整的,可以把电芯和冷却片贴着放在一起组成一个堆垛单元。但单体圆柱电池因为形状不规整,难以用这种紧密贴合的方式进行冷却。

画个图给大家看一下,用这种方式放置导热管和电池,理论上来说二者是相切的,接触部分只是一个点。

那么如何解决呢?大家都能想到,只要把导热管做成下图这种弯曲的结构,就能增大接触面积,提升冷却效果。

这种方法的确有理有据令人信服,最可贵的是我们普通人也能想到和理解,但再仔细想想,要导热管完美地把电池包裹住,做到严密贴合是很难的。

所以特斯拉对其进行了改进,做了一个导热套套在管道外面,这个导热套侧面使用了锯齿结构,能有效增大与电池的接触面积,还能降低对生产工艺的要求。只要电池按照正确的方向插入导热套之间,就能实现最好的冷却效果。

▲ 图上箭头指示方向为电池插入方向

再比如特斯拉的这个专利,减少多节电池组中热失控传播的方法,原理仔细一看似乎很简单,就是利用传感器检测多个电池的温度,发现其发生热失控时,执行一定的操作,以确保热量不会传播到相邻单元。

之后特斯拉改进了这个专利,简单描述一下,就是在热导管中加入多个“开关”,当温度达到某个值时,“开关”就会打开,管道内的冷却材料就通过开关排出。这个“开关”的形式非常灵活,比如导管壁较薄的区域、在导管上加入可以热熔断的“塞子”等,导管内的冷却材料可以由液体,气体或膨胀的阻燃泡沫构成。

这么看来这种检测——发现——阻隔的套路好像很容易想到,但它的发布时间是 2009 年,在全球范围内共被引用了五六十次。而“被引用”指的是该专利作为基础技术的影响力,也就是对后续该领域的创新形成了指导作用。可见特斯拉在当时扮演的是电池技术方面的“先驱者”的角色。

再看特斯拉的另一个专利——一种电池温控系统,这个专利特斯拉公布的并不是技术细节,而是核心思路,相当于特斯拉公布了一个“流程图”,“纸上谈兵”地告诉大家,遇见这种情况他们是怎么处理的。

▲ ESS 是电动汽车能量存储系统

这个思路看起来也很简单,就是预设多个温度,不断比较,根据得到的值做不同的决策即可。看起来怎么有点“PPT 造车”的感觉?但我还是认为特斯拉在当时提供了一个“理论”或者“思路”,为后来人指明了方向,这个专利及其同族在全球范围内共被引用了八十多次,足见其影响力。

后来特斯拉对这个“流程图”修修补补增增减减,提出了另一种控制策略,应用前景也相当不错。

前面两个专利都是讲的如何冷却电池,其实对于热失控,特斯拉给出了从检测热失控到防止热失控蔓延的一系列专利。比如检测,就有气体压力检测、热敏电阻检测、绝缘电阻检测、电压检测、光纤检测等方式。而热失控发生后,又有电池间、电池组间、电池包和乘客间的隔热屏障,以及电池固定装置、热熔断装置和排气装置进行保护。

图为特斯拉给出的是否安装膨胀材料的单体电池,温度变化与时间的关系,可以看到 Cell 3 和 4 明显最髙温度下降,达到最髙温度用的时间也延长了。

■ 电机给电池加热?

特斯拉申报的关于电机的专利也不少,挑个好理解并且有趣的跟大家讲讲,比如这个“低温电机加热系统”。

我们知道电池在低温下充不进去电,所以目前市面上有很多车带有低温预加热功能,特斯拉加热电池的方法有这几种:加热器加热、降低或停止冷却系统、利用环境中的热量(比如充电、大气),最后就是这种控制电机在低效模式下工作产生的热量,对电池或其他部位进行加热。

这张图看起来很复杂,不过原理不算难懂,它是将电机分为最佳效率模式(图中 220)和耗散模式(图中 230)两种,耗散模式会使电机发热。而模式控制器(图中 235 )会选择这两种模式,并产生信号。电机控制器(图中 210)根据模式控制器和转矩控制器(图中 215)输入的信号输出合适的电压。

而下面这张图表示电机供热通道,将热量从电机中取出,经冷却回路输送给电池。

简单解释一下这个专利图,他表示了冷却液在电机、散热器和电池之间的流动,主要控制流动的是我画蓝色的两个阀,而在上面提到的耗散模式下,靠近散热器(画红框)的那个阀,让热的冷却液不经过散热器,直接到集液槽(画绿框)里存下来。

这个专利是特斯拉对于低温预加热的自己的思考,它把电机分为两个模式的创意在当时很有先进性,但低温预加热到底怎么加热,每个厂商都有自己的想法,特斯拉这个方式固然不错,但国内的威马使用柴油加热效果不一定比这个差。估计这也是该专利倒是没怎么被其他厂家引用的原因。

■ 邦点评

其实特斯拉还有很多大大小小奇奇怪怪的专利,这里我们不多说了。总结来看,我们提到的几个专利,时间都比较久,都提出了一种先进的思路或者创新,对后续专利的开发起到了引导作用。

这正是特斯拉的优秀之处,我们说特斯拉是“电动化的先驱者”,说特斯拉“开创了新时代”、“颠覆了汽车界”,不只是表面看到的,它引领了封闭格栅的风潮,它带起了大屏极简内饰的节奏;在内里,特斯拉对于三电技术的创造和积累,也绝对不容小觑,在 10 年前摸着石头过河,研发出了无论外在还是内在,都让世人惊艳的产品,或许这就是特斯拉的魅力吧。