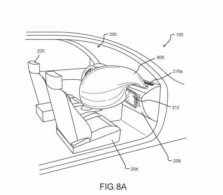
近期,蔚来在美国申请了一项名为《自适应结构安全气囊》的专利,通过专利图我们能看出,该车的副驾前方配备一块屏幕,而气囊的弹出方式也比较特殊,似乎是想通过这种特殊设计,以避免副驾乘客在事故中撞击屏幕。
由此可见,蔚来似乎在研究针对副驾的娱乐设施及相关的保护措施,仔细观察专利图,我们能够看到副驾屏幕可以向主驾方向进行旋转。
根据目前已知的信息,蔚来在年底将会有一款轿车ET7,该车的内饰目前还未公布,我们可以期待一下这块娱乐屏出现在ET7的副驾上。
近期,蔚来在美国申请了一项名为《自适应结构安全气囊》的专利,通过专利图我们能看出,该车的副驾前方配备一块屏幕,而气囊的弹出方式也比较特殊,似乎是想通过这种特殊设计,以避免副驾乘客在事故中撞击屏幕。
由此可见,蔚来似乎在研究针对副驾的娱乐设施及相关的保护措施,仔细观察专利图,我们能够看到副驾屏幕可以向主驾方向进行旋转。
根据目前已知的信息,蔚来在年底将会有一款轿车ET7,该车的内饰目前还未公布,我们可以期待一下这块娱乐屏出现在ET7的副驾上。