最近,在新能源汽车行业,特斯拉电池日绝对算得上业内最期待的一件事了,马斯克也曾多次透露届时将会有“令人激动的消息”,并且透露了新电池的能量密度等信息。高续航的过度关注使得大家忽略了动力电池领域另一个更为重要的指标——安全性能。

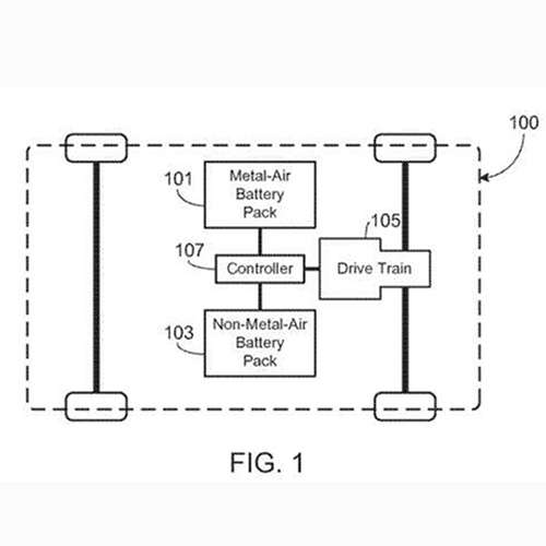
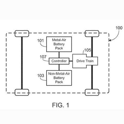
日前,邦老师从相关渠道了解到,特斯拉最新申请了一项与电池安全相关的专利。从曝光的专利信息来看,其通过将金属空气电池组连接到锂电池组上,从而降低因为锂电池过热而产生自燃的风险,可抑制锂电池热失控。

从该专利的原理上来看,主要是利用金属空气电池在工作的时候必须有空气参与的原理,将其与主电池包(即锂电池)通过管道和阀门进行连接。当锂电池有热失控迹象时,阀门就会自动打开,将热气体导入金属空气电池管道内,进而对气体进行冷却降温。

值得注意的是,金属空气电池需要空气才能工作,其阴极是环境空气,需要与空气作用才能发电,显然这种设计可能会带来热失控之外的其他问题。除此之外,金属空气电池的能量密度比锂离子电池高得多,但其性能稳定性较差,充放电循环能力较低。不过特斯拉的这项专利也为降低锂电池热失控现象提供了新的解决思路。