近日,海外媒体electrek爆料,美国专利及商标局通过了特斯拉激光雨刷器的专利申请。这标志着特斯拉继「消灭」方向盘和踏板之后,又要对雨刷出手了,而第一辆搭载「激光雨刷」的车型很可能是Cybertruck。

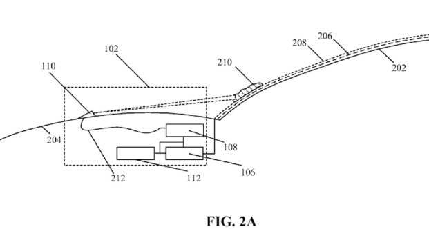
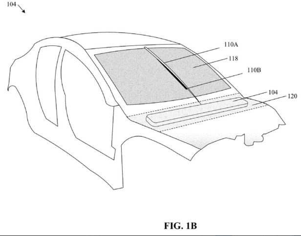
2019年,特斯拉提交了一项名为「脉冲激光清洁汽车和光伏组件玻璃制品上堆积的碎片(Pulsed Laser Cleaning of Debris Accumulated on Glass Articles in Vehicles and Photovoltaic Assemblies)」 的专利申请。该专利为一套包含了监测和激光发射器的清洁系统,可以对风挡玻璃上的灰尘、碎屑进行监控,并发射脉冲激光束进行清洁。

除此之外,特斯拉还在今年年初设计了针对全新Roadster的「电磁雨刷」,通过风挡玻璃上下两端的电磁导轨,驱动单臂雨刷器左右移动从而清洁风挡玻璃。